Den otevřených dveří se blíží! 👀
29.5.2026 | Havlíčkův Brod

569 427 754
(Po–Pá: 7–16 h)
CZ / Kč s DPH
Máte dotaz?
Poradna
Naposledy navštívené
INA SL185007-A Válečkové ložisko
Skladem 2 ks
v pondělí 18. 5. u vás, zítra na 1 pobočce
2 925,63 Kč 2 417,88 Kčbez DPH
Řemenice pro klínové řemeny PT 1 SPA 90
Skladem 5 ks
v pondělí 18. 5. u vás, zítra na 2 pobočkách
329,48 Kč 272,30 Kčbez DPH
Vzduchotěsná západka MISUMI LCAR11
1 564,65 Kč 1 293,10 Kčbez DPH
Váš košík je bohužel prázdný :-(
Váš košík je bohužel prázdný :-(
...není to trochu škoda?
Váš poptávkový košík je bohužel prázdný :-(
Váš poptávkový košík je bohužel prázdný :-(
...není to trochu škoda?

INA SL185007-A Válečkové ložisko

2 925,63 Kč
2 417,88 Kčbez DPH
Kód produktu
SL18 5007 A INA
Výrobce
Rychlý nákup s vyzvednutím u nás
Mateza Havlíčkův Brod
Není skladem
k vyzvednutí v sobotu 16. 5., od 08:15
Mateza Jihlava
Není skladem
k vyzvednutí v pondělí 18. 5., od 07:45
Mateza Brno
Skladem 4 ks
k vyzvednutí zítra, od 07:15
4+ milióny kusů SKLADEM

připraveno ihned k odeslání

Zboží skladem zítra u vás

při objednávce do 12:00

30+ let zkušeností v oboru

poradíme s výběrem i dotazy

Osobní odběr a služby

na 3 pobočkách v Česku

Parametry
Parametry a specifikace
Výrobce / Značka
INA
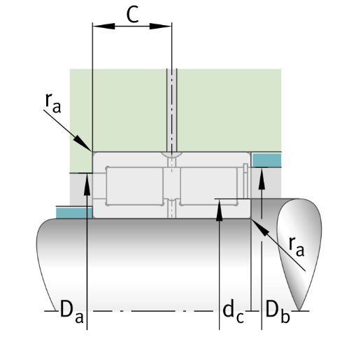
Vnitřní průměr
35 mm
Vnější průměr
62 mm
Šířka
36 mm
Typ ložiska
Valivé
Počet řad valivých těles
Dvouřadá
Typ ložiska podle valivého tělesa
Válečkové
Hmotnost
0,4391 kg
Značka
INA
Popis

Popis

SL182912-B-XL-C3 je dvouřadé válečkové ložisko produktové řady SL 18 výrobce INA, s vnitřním průměrem 35 mm a plným počtem valivých tělísek - válečků. 

Ložisko nemá klec, proto u něj lze použít plný počet válečků, které jsou axiálně zajištěny osazením na vnitřním i vnějším ložiskovém kroužku. 

Ložisko lze během provozu domazávat, má mazací otvory jak na vnějším, tak i na vnitřním kroužku.

Díky své konstrukci a vlastnostem se tento typ ložiska používá především pro velmi těžká radiální zatížení při relativně nízkých otáčkách.

Ke stažení

Ke stažení

Nevíte si rady?

Rádi vám poradíme s výběrem vhodného zboží i technickými dotazy.

Zdeněk Sedmík
Zdeněk Sedmík
Zákaznická linka
569 427 754
(Po–Pá, 7:00–16h)
99% na Heurece

zákazníků doporučuje podle dotazníku spokojenosti za poslednich 90 dní.

4,8% - spokojenost s obchodem

S obchodem jsem vždy spokojen. Kvalita zboží a rychlost dodání. Skvělá komunikace s obchodem. Prostě paráda, super.

Zboží v pondělí objednáno, v úterý dorazilo.