🚀 Rozšiřujeme tým! V Brně hledáme 2 nové kolegy. 
Podívejte se na otevřené pozice

569 427 754
(Po–Pá: 7–16 h)
CZ / Kč s DPH
Máte dotaz?
Poradna
Naposledy navštívené
ISB H 312 Upínací pouzdro
Skladem > 10 ks
pozítří u vás, zítra na 3 pobočkách
209,91 Kč 173,48 Kčbez DPH
ISB H 3032 Upínací pouzdro
Skladem 2 ks
ve středu 18. 3. u vás, zítra na 1 pobočce
2 213,94 Kč 1 829,70 Kčbez DPH
Váš košík je bohužel prázdný :-(
Váš košík je bohužel prázdný :-(
...není to trochu škoda?
Váš poptávkový košík je bohužel prázdný :-(
Váš poptávkový košík je bohužel prázdný :-(
...není to trochu škoda?

ISB H 312 Upínací pouzdro

209,91 Kč
173,48 Kčbez DPH
Kód produktu
H 312 ISB
Výrobce
Rychlý nákup s vyzvednutím u nás
Mateza Havlíčkův Brod
Skladem > 10 ks
k vyzvednutí zítra, od 07:15
Mateza Jihlava
Není skladem
k vyzvednutí pozítří, od 07:45
Mateza Brno
Skladem > 5 ks
k vyzvednutí zítra, od 07:15
4+ milióny kusů SKLADEM

připraveno ihned k odeslání

Zboží skladem zítra u vás

při objednávce do 12:00

30+ let zkušeností v oboru

poradíme s výběrem i dotazy

Osobní odběr a služby

na 3 pobočkách v Česku

Parametry
Parametry a specifikace
Výrobce / Značka
ISB
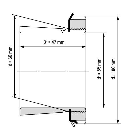
Vnitřní průměr
55 mm
Šířka
47 mm
Typ příslušenství k ložiskům
Upínací pouzdra
Hmotnost
0,38 kg
Popis

Popis

H 312 je upínací ložiskové pouzdro metrických rozměrů, pro montáž ložisek s kuželovou dírou na hřídel průměru 55 mm. Je dodáváno včetně pojistné matice KM 12 a pojistné podložky MB 12.

Upínací pouzdra jsou nejčastěji používanými díly pro montáž ložisek s kuželovou dírou na válcový hřídel, jelikož je možné je použít jak na hladké, tak i osazené hřídele. Jsou rozříznutá a dodávají se kompletní s pojistnou maticí KM a pojistnou podložkou MB. Výhodou je i jejich jednoduchá montáž.

Ke stažení

Ke stažení

Nevíte si rady?

Rádi vám poradíme s výběrem vhodného zboží i technickými dotazy.

Zdeněk Sedmík
Zdeněk Sedmík
Zákaznická linka
569 427 754
(Po–Pá, 7:00–16h)
99% na Heurece

zákazníků doporučuje podle dotazníku spokojenosti za poslednich 90 dní.

4,8% - spokojenost s obchodem

S obchodem jsem vždy spokojen. Kvalita zboží a rychlost dodání. Skvělá komunikace s obchodem. Prostě paráda, super.

Zboží v pondělí objednáno, v úterý dorazilo.